Najnowsze artykuły
Artykuły około-SEO’owe, analizy patentów Google, podstawy pozycjonowania, interpretacje dokumentacji technicznej
Zastosowanie sztucznej inteligencji w SEO, marketingu i analizie semantycznej. Przeglądy narzędzi, nowości oraz realne przykłady wykorzystania AI w praktyce.
Poradniki i artykuły o SEO w kontekście WordPressa – od technicznej optymalizacji, przez dobór wtyczek, aż po performance i bezpieczeństwo.
Pierwszy w Polsce podcast, w którym sztuczna inteligencja rozmawia o SEO, algorytmach i przyszłości marketingu internetowego. Projekt edukacyjny oparty na konkretnych źródłach: patentach, dokumentacji Google, publikacjach naukowych i prawdziwych case studies z branży.
-
#9: Ocena strony na podstawie danych historycznych
-
#8: OpenRobotsTXT - otwarte archiwum plików robots txt z całego świata
-
#7: Wyszukiwanie z czatem kontekstowym - "AI MODE"
-
#6: Inteligentne podsumowania wyników wyszukiwania
-
#5: Dokąd zmierza Google? Czyli ewolucja od wyszukiwarki do asystenta AI
-
#4: Generowanie wektorów autora
-
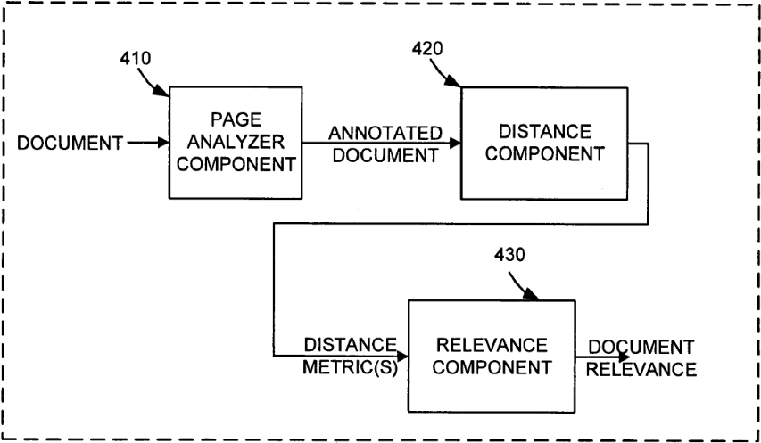
#3: Odległość semantyczna między terminami w dokumencie HTML
-
#2: Generatywne podsumowania wyników wyszukiwania i Model Transformer
-
#1: Optymalizacja pod AI Overviews
-
#0: Zapowiedź projektu AI SEOcast
Inne
Artykuły, które nie mieszczą się w jednej szufladce – newsy branżowe, ciekawostki i tematy okołodigitalowe. Lżejsze ale nadal merytoryczne 🙂
Core Search Insights
Artykuły bazujące na patentach Google, API Content Warehouse, ogólnie dostępnych informacjach, wypowiedziach Googlersów, badaniach naukowych, materiałach ujawnionych w postępowaniu prawnym przeciwko Google, a nawet własne testy 🙂






















